檔案下載


.jpg)
ITEM DESCRIPTION
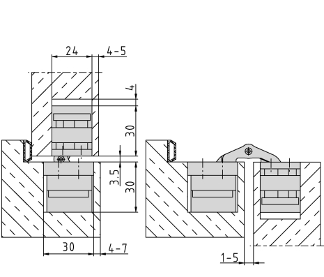
Standard load:
Maximum door weight 120 kg (per pair)Application:
Concealed hinge for non-rebated doors, hinge leaves are mortised into frame and door; 3-dimensional adjustability, maintenance-free bearings; frame part provided with screenAccessories:
PIVOTA ® DX safety plate for frame part, retainer for casing or steel frames Note: incl. fixing screws; also available in "Design"-option| Item number | Finish |
| 040817 | Edelstahl Look |
| 040609 | Alu Look F1 |
| 037946 | velour vernick. |


.jpg)

